首页> 新闻中心
特别要注意区分水泵的压水扬程和实际扬程的概念
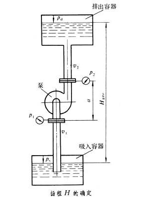
通常对于离心泵来说,它有三个扬程:实际吸水扬程(吸上高度)、实际压水扬程(高度差)和实际扬程(包括管路损耗因素加高度差)。在没指明的情况下,一般认为扬程是指两水面的高度差。
在实际运用中,有不少用户在水泵扬程的确定过程中,存在有误区。那就是把需要的压水扬程当做需要的扬程。虽然水泵的扬程是指两个水面的高度差,实际上还要受到管道阻力的影响,管道阻力就会减去一部分扬程。例如福建XX公司,报来的计划是需要一台流量46m3/H,扬程180米的卧式多级离心泵,客户要求按他的参数选型和出具项目技术参数,后来就选了D46-30X6型的卧式多级离心泵。后面在运行中,流量、压力都达不到使用要求。经过我们技术部和客户详细了解后得知,该项目选用的是DN80的输水管道,管道距离是1600米,实际高差就有180米。客户以为实际高差就是扬程,忽视了管路损耗及动扬程等其他因素,活生生的实例,惨痛的教训,因此在实际工作中一定要详细了解清楚用户的实际工况选型,对于客户提供的技术参数要再三核实,必要的时候进行引导、纠正客户的错误理念。这就需要我们业务员平时不仅要有热情,更要多学习、掌握全面的离心泵专业知识才能应对不同客户的需求,才能做到对客户负责、为客户服务、让客户满意。



